ProductsAbaqus/StandardAbaqus/CAE Defining a cavity radiation problemSince cavity radiation effects are calculated only in heat transfer and coupled thermal-electrical procedures, the only kind of thermal-stress analysis that can include these effects is sequentially coupled thermal-stress analysis (see Sequentially coupled thermal-stress analysis). Moreover, unless you allow cavity parallel decomposition (see Decomposing large cavities in parallel below), there is a software limit of 16,000 nodes and facets in Abaqus/Standard. In addition, there is a limit that you can define at most 100 cavities in a single analysis. Model definitionWhen you define the model for a cavity radiation problem, you must:
History definitionIn the first step of a cavity radiation analysis you must associate with each cavity a radiation view factor definition, which controls the calculation of view factors for the cavity. You then may:
If any of the above are included in your analysis, they must be defined within a heat transfer or coupled thermal-electrical step definition. Defining surfacesCavities are defined in Abaqus/Standard as collections of surfaces, which are composed of facets. In axisymmetric and two-dimensional cases a facet is a side of an element; in three-dimensional cases a facet is a face of a solid element or a surface of a shell element. Rigid surfaces cannot be used in cavity radiation problems. Surfaces are defined as described in Element-based surface definition. You may associate each surface with a surface property definition as part of the surface option, or you may associate surfaces with surface properties as part of the cavity definition option. The surface properties are defined as described below. Input File Usage Use the following option to define a surface with a surface property for use in a cavity radiation analysis: SURFACE, TYPE=ELEMENT, NAME=surface_name, PROPERTY=property_name Use the following option to define a surface for use in a cavity radiation analysis in which surface properties are defined as part of the cavity definition: SURFACE, TYPE=ELEMENT, NAME=surface_name Abaqus/CAE Usage Interaction module: Create Interaction: Cavity radiation: select the initial surface region RestrictionsSurfaces that are associated with cavity radiation are subject to the following restrictions in addition to the general surface definition restrictions outlined in Element-based surface definition:
In addition, the three-dimensional quadrilateral facets should be as close to planar as possible; otherwise, the quality of the view factor calculations will be compromised. Controlling spurious spatial oscillationsThe radiation flux for each facet is calculated based on the average of the nodal temperatures on that facet (see Cavity radiation). This value of radiation flux is then distributed to each node in proportion to its area. Consequently, the mesh must be sufficiently fine that temperature differences across elements are small. Otherwise, computed fluxes at nodes with temperatures above the facet average will be excessively low, and the fluxes at nodes with below-average temperatures will be too high. This tends to induce a spatially oscillatory solution. This effect can be eliminated by reducing the element size in the vicinity of high temperature gradients. Defining surface radiation propertiesCavity radiation problems are intrinsically nonlinear, due to the dependence of the radiative flux on the fourth power of the facet temperature. Further, nonlinearity can be introduced by describing the emissivity, , as a function of temperature. Defining the emissivityEmissivity is a dimensionless quantity with a value that is greater than or equal to zero and less than or equal to one. A value of corresponds to all radiation being reflected by the surface. A value of corresponds to black body radiation, where all radiation is absorbed by the surface. You can define the emissivity, , of a surface as a function of temperature and other predefined field variables. You must assign a name to the surface property that defines the emissivity. Input File Usage Use both of the following options to define the emissivity of a surface: SURFACE PROPERTY, NAME=property_name EMISSIVITY The EMISSIVITY option must appear directly after the SURFACE PROPERTY option in the model definition section of the input file. If black body radiation is being defined (), the following option can be used in the step definition to improve efficiency: RADIATION VIEW FACTOR, REFLECTION=NO Abaqus/CAE Usage Use the following input to define gray body radiation: Interaction module: Create Interaction Property: Cavity radiation: enter the emissivity () You can define the emissivity as a function of temperature and/or field variables. Use the following input to define black body radiation: Interaction module: Create Interaction: Cavity radiation: Use heat reflection: No Controlling the accuracy of temperature-dependent emissivity changesAbaqus/Standard evaluates the emissivity, , based on the temperature at the start of each increment and uses that emissivity value throughout the increment. When emissivity is a function of temperature or field variables, you can control the time incrementation for the heat transfer or coupled thermal-electrical step by specifying the maximum allowable emissivity change during an increment, . If this tolerance is exceeded, Abaqus/Standard will cut back the increment size until the maximum change in emissivity is less than the specified value. If you do not specify a value for , a default value of 0.1 is used. Input File Usage Use either of the following options: HEAT TRANSFER, MXDEM= COUPLED THERMAL-ELECTRICAL, MXDEM= Abaqus/CAE Usage Step module: Create Step: Heat transfer or Coupled thermal-electric: Incrementation: Automatic: Max. allowable emissivity change per increment: Defining the Stefan-Boltzmann constant and value of absolute zeroYou must define the Stefan-Boltzmann constant, , and the value of absolute zero, ; there are no default values for these constants. Input File Usage PHYSICAL CONSTANTS, STEFAN BOLTZMANN=, ABSOLUTE ZERO= This option can appear anywhere in the model definition portion of the input file. Abaqus/CAE Usage Any module: Absolute zero temperature and Stefan-Boltzmann constant. Enter values for Constructing a cavityYou construct cavities as collections of the surfaces defined as described above. Each surface can be used only in one cavity definition. Each cavity must have a unique name; this name is used to specify view factor calculations. The cavity name can also be used to request output. Setting surface propertiesBy default, a cavity is assumed to consist of surfaces for which surface properties have already been defined. Instead, you may define surface properties as part of the cavity definition. Input File Usage Use the following option to construct a cavity: CAVITY DEFINITION, NAME=cavity_name, SET PROPERTY surface name, surface property name By using the SET PROPERTY parameter, you define the surface properties used in the cavity, overriding any property defined as part of the surface option. Abaqus/CAE Usage Interaction module: Create Interaction: Cavity radiation: select the surface region. Use the Properties table to add or edit surfaces and cavity radiation interaction properties (emissivity). Creating a closed cavityBy default, a cavity is assumed to be closed. Input File Usage Use the following option to construct a closed cavity: CAVITY DEFINITION, NAME=cavity_name Abaqus/CAE Usage Interaction module: Create Interaction: Cavity radiation: Definition: Closed Creating an open cavityYou can specify an open cavity by defining the reference temperature of the external medium. This ambient temperature value is converted to an absolute temperature scale based on the definition of absolute zero. You can verify the degree of opening in the cavity by specifying a tolerance for the accuracy of the view factor calculations; radiation to the external medium will take place only if the deviation of the sum of the view factors from unity is more than this tolerance. See Controlling the accuracy of view factor calculations below for details. Input File Usage Use the following option to create an open cavity: CAVITY DEFINITION, NAME=cavity_name, AMBIENT TEMP= Abaqus/CAE Usage Interaction module: Create Interaction: Cavity radiation: Definition: Open, Ambient temperature: Creating a cavity with multiple openings or complex ambient conditionsThe open cavity definition allows for a cavity with a single opening into an ambient environment with a single, constant temperature value. If the cavity has multiple openings or the ambient temperature is not constant, you should model the surroundings differently. You should close any cavity openings with elements, and prescribe the temperatures of the external media on these elements. Since the cavity is now closed, you should not specify an ambient temperature with the cavity definition. The temperature definition that you use for the closing elements provides the ambient temperature, and it allows you to specify different temperatures, including variable temperatures, at the cavity openings. The elements modeling the external media should not share nodes with the cavity elements (so that conduction will not take place between them). The surfaces defined by the external media elements should have an emissivity of 1. Decomposing large cavities in parallelBy default, Abaqus/Standard uses a single working thread for the calculation of the view factor matrix and solution of the radiative heat transfer equations (see Cavity radiation). This method is robust and works well for small cavities composed of hundreds of facets, but it becomes inefficient and computationally expensive for large cavities composed of thousand of facets. Moreover, the memory requirements for these cavities may be prohibitively large for a single computational node (the view factor matrix is the size of the number of facets squared). In these cases you should consider allowing Abaqus/Standard to decompose the cavity among all CPUs during view factor calculations and solution of the radiative heat transfer equations. Input File Usage Use the following option to activate cavity parallel decomposition: CAVITY DEFINITION, NAME=cavity_name, PARALLEL DECOMPOSITION=ON Abaqus/CAE Usage Cavity parallel decomposition is not supported in Abaqus/CAE. Solving radiative heat transfer equations in parallelAbaqus/Standard uses an iterative solution technique for obtaining the radiative heat fluxes when cavity parallel decomposition is enabled. This technique is based on Krylov methods, employs a preconditioner, and uses only MPI-based parallelization (see Parallel execution in Abaqus/Standard for details). This iterative technique is used only to solve the cavity radiation equations and does not require user intervention. You may still opt to use the either the iterative or direct sparse solvers for the solution of the heat transfer finite element equations. Convergence of models with decomposed cavitiesThe exact cavity radiation equations are solved whether parallel decomposition is allowed or not; however, when parallel decomposition is active, Abaqus/Standard may require more iterations to obtain a solution. This slower rate of convergence comes from an approximation to the Jacobian (the linearization of the radiation fluxes) that is based on small changes of the irradiation (any part not due to emission from the surface). Models involving surfaces with low emissivities and steady-state analyses might be especially affected. If you encounter convergence problems with parallel decomposed cavities, you may consider
Kinematic constraints on models with decomposed cavitiesKinematic constraints (for example, coupling constraints, linear constraint equations, multi-point constraints, or surface-based tie constraints) can be applied to any node or surface belonging to a cavity where parallel decomposition is allowed. However, the nodes or surfaces must be the independent (master) nodes or surfaces in the constraint definition. Defining cavity symmetriesTaking advantage of geometric symmetry can reduce computational model size and simulation time. Instead of modeling all of the parts or components in a symmetric assembly, you can model a smaller repeated component and take symmetry into account in the definition of the cavity radiation interaction. In Abaqus/Standard cavity definitions with defined symmetries take into account the radiation interactions between each cavity facet and between all of the facets in the cavity and all of its symmetric images. Abaqus/Standard does not check that the model created using cavity symmetries is physically realistic. You must check the input and results carefully to ensure that a valid model is created. You must assign a name to each radiation symmetry definition for reference by a radiation view factor definition. The radiation view factor definition and corresponding radiation symmetry definition must appear in the same step. Cyclic, periodic, and/or reflection symmetries can be defined as described below. Input File Usage Use all of the following options to define symmetry in a cavity radiation problem: RADIATION VIEW FACTOR, SYMMETRY=symmetry_name RADIATION SYMMETRY, NAME=symmetry_name REFLECTION and/or PERIODIC and/or CYCLIC Abaqus/CAE Usage Interaction module: Create Interaction: Cavity radiation: Symmetry: Reflection, Periodic, and/or Cyclic Reflection symmetryYou define reflection symmetry to create a cavity that is composed of the user-defined cavity surface plus its reflected image through a line or plane. You must identify the dimensionality of the cavity when you define reflection symmetry. Reflection of two-dimensional cavitiesYou can define the cavity symmetry by reflecting the cavity surface through a line, as shown in Figure 1. Figure 1. Reflection symmetry through a line.
![]() This type of reflection can be used only with two-dimensional cavities. Input File Usage REFLECTION, TYPE=LINE Abaqus/CAE Usage Interaction module: Create Interaction: Cavity radiation: Symmetry: Reflection: select the symmetry line Reflection of three-dimensional cavitiesYou can define the cavity symmetry by reflecting the cavity surface through a plane, as shown in Figure 2. Figure 2. Reflection symmetry through a plane.
![]() This type of reflection can be used only with three-dimensional cavities. Input File Usage REFLECTION, TYPE=PLANE Abaqus/CAE Usage Interaction module: Create Interaction: Cavity radiation: Symmetry: Reflection: select the symmetry plane Reflection of axisymmetric cavitiesYou can define the cavity symmetry by reflecting the cavity surface through a line of constant z-coordinate, as shown in Figure 3. Figure 3. Reflection symmetry through a line of constant
z-coordinate.
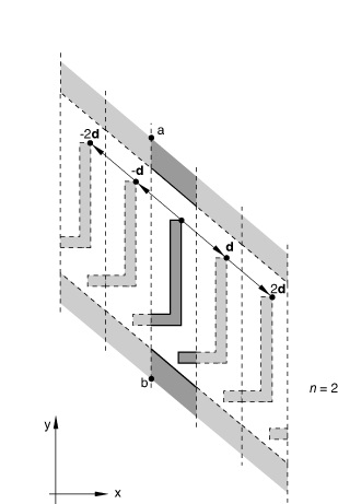
![]() This type of reflection can be used only with axisymmetric cavities. Input File Usage REFLECTION, TYPE=ZCONST Abaqus/CAE Usage Interaction module: Create Interaction: Cavity radiation: Symmetry: Reflection: enter the z-axis symmetry value for the line of symmetry Periodic symmetryYou can define cavity symmetry by periodic repetition in a given direction. Physically, periodic symmetry is understood as an infinite number of repetitions of the same image at a periodic interval. Numerically, periodic symmetry has to be represented by a finite number of repetitions of the periodic image. You can define the number of repetitions used in the numerical calculation, n. The periodic symmetry will result in a cavity composed of the user-defined cavity plus twice n similar images, since the periodic symmetry is assumed to apply in both the positive and negative directions. By default, n=2. Although symmetries do not increase the size of the view factor matrix, they do make its calculation more expensive. Therefore, the number of repetitions should be minimized, but the value of n should be large enough that the view factor matrix is calculated accurately. Output variable VFTOT can be used to check the amount of closure implied by the symmetry. (See Controlling the accuracy of view factor calculations below.) Periodic symmetry for defining the cavity radiation view factor matrix does not impose symmetry conditions automatically in the heat transfer analysis. It may be necessary to impose appropriate constraints on the temperature and loading conditions at the nodes on the periodic symmetry planes to obtain a meaningful solution from the underlying heat transfer analysis. You must identify the dimensionality of the cavity when you define periodic symmetry. Periodic symmetry of two-dimensional cavitiesYou can create a cavity that is composed of a series of similar images generated by repetition along a two-dimensional distance vector, as shown in Figure 4. Figure 4. Two-dimensional periodic symmetry.
![]() The repeated images are bounded by lines parallel to line ab. The distance vector must be defined so that it points away from line ab and into the domain of the model. This type of periodic symmetry can be used only with two-dimensional cavities. Input File Usage PERIODIC, TYPE=2D, NR=n Abaqus/CAE Usage Interaction module: Create Interaction: Cavity radiation: Symmetry: Periodic: Number of periodic symmetries: n Periodic symmetry of three-dimensional cavitiesYou can create a cavity that is composed of a series of similar images generated by repetition along a three-dimensional distance vector, as shown in Figure 5. The repeated images are bounded by planes that are parallel to plane abc. The distance vector must be defined so that it points away from plane abc and into the domain of the model. This type of periodic symmetry can be used only with three-dimensional cavities. Figure 5. Three-dimensional periodic symmetry.
![]() Input File Usage PERIODIC, TYPE=3D, NR=n Abaqus/CAE Usage Interaction module: Create Interaction: Cavity radiation: Symmetry: Periodic: Number of periodic symmetries: n Periodic symmetry of axisymmetric cavitiesYou can create a cavity that is composed of a series of similar images generated by repetition in the z-direction, as shown in Figure 6. Figure 6. Axisymmetric periodic symmetry.
![]() The repeated images are bounded by lines of constant z-coordinate. The z-distance vector must be defined so that it points away from the z-constant periodic symmetry reference line and into the domain of the model. This type of periodic symmetry can be used only with axisymmetric cavities. Input File Usage PERIODIC, TYPE=ZDIR, NR=n Abaqus/CAE Usage Interaction module: Create Interaction: Cavity radiation: Symmetry: Periodic: Number of periodic symmetries: n Cyclic symmetryYou can define cavity symmetry by cyclic repetition of the user-defined cavity surface about a point or an axis. The cavity defined by cyclic repetition must cover 360°. You must define the number of cyclically similar images that compose the cavity, n. The angle of rotation about a point or axis used to create cyclically similar images is equal to 360°/n. You must identify the dimensionality of the cavity when you define cyclic symmetry. Cyclic symmetry of two-dimensional cavitiesYou can define the cavity symmetry by rotating the cavity about a point, l, as shown in Figure 7. Figure 7. Cyclic symmetry about a point.
![]() The cavity surface defined in the model must be bounded by the line lk and a line passing through l at an angle, measured counterclockwise when looking into the plane of the model, of 360°/n to lk. This type of cyclic symmetry can be used only for two-dimensional cavities. Input File Usage CYCLIC, TYPE=POINT, NC=n Abaqus/CAE Usage Interaction module: Create Interaction: Cavity radiation: Symmetry: Cyclic: toggle on Use cyclic symmetric, Total number of sectors: n Cyclic symmetry of three-dimensional cavitiesYou can define the cavity symmetry by rotating the cavity about an axis, lm, as shown in Figure 8. The cavity surface defined in the model must be bounded by the plane lmk and a plane passing through the line lm at an angle, measured clockwise when looking from l to m, of 360°/n to lmk. Line lk must be normal to line lm. This type of cyclic symmetry can be used only for three-dimensional cavities. Figure 8. Cyclic symmetry about an axis.
![]() Input File Usage CYCLIC, TYPE=AXIS, NC=n Abaqus/CAE Usage Interaction module: Create Interaction: Cavity radiation: Symmetry: Cyclic: toggle on Use cyclic symmetric, Total number of sectors: n Combining symmetriesReflection, periodic, and cyclic symmetries can be combined as shown in Table 1. Figure 9 through Figure 12 illustrate some possible symmetry combinations.
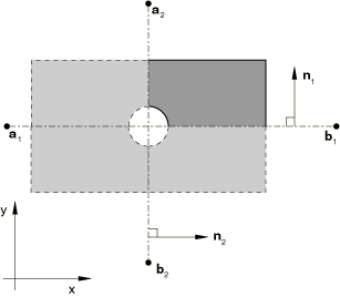
, , , are normals to lines or planes of reflection symmetry. , , are distance vectors used to define periodic symmetry. is the direction of the axis of cyclic symmetry in three-dimensional cases. Figure 9. Combination of two reflection symmetries in two dimensions.
![]() Figure 10. Combination of two periodic symmetries in two dimensions.
![]() Figure 11. Combination of one reflection symmetry and one periodic symmetry in
two dimensions.
![]() Figure 12. Combination of one cyclic symmetry and one periodic symmetry in three
dimensions.
![]() Prescribing motion during a cavity radiation analysisIn many cavity radiation problems such as simulations of manufacturing sequences, radiation view factors change because surfaces are moved during the analysis. You can specify surface motions during heat transfer or coupled thermal-electrical analysis. The prescribed motions affect only the calculation of view factors (and, therefore, radiation fluxes) in heat transfer due to cavity radiation. They do not affect heat conduction, storage, or distributed flux contributions. You can define both the translational and rotational components of the motion within a step independently. For example, you can prescribe the translational motion of a node set according to a certain amplitude function and then prescribe the rotational motion of the node set according to a different amplitude function. In each step, each component of motion can be specified only once for any particular node. Motions can also be prescribed during steps in which the cavity radiation is turned off, as described below. Translational motionTranslations, , are specified in terms of global x-, y-, and z-components unless a local coordinate system is defined at the nodes for which motion is specified; then translations are specified in terms of local x-, y-, and z-components (see Transformed coordinate systems). Translational displacements are always specified as total values of translational motion. This treatment of translations is consistent with that used for displacement boundary conditions (Boundary conditions in Abaqus/Standard and Abaqus/Explicit) in stress/displacement analyses. The default is to apply translational motion. Translational velocities can also be specified. Translational velocities always refer to the current step; therefore, the rate of translational motion specified as a velocity is in effect only during the step for which it is defined. This behavior is different from velocity boundary conditions, where velocities stay in effect in subsequent steps if they are not redefined. Input File Usage Use either of the following options to prescribe translational motion: MOTION, TRANSLATION, TYPE=DISPLACEMENT MOTION, TRANSLATION, TYPE=VELOCITY Abaqus/CAE Usage Surface motion is not supported with cavity radiation in Abaqus/CAE. Rotational motionDisplacements due to a rigid body rotation, , can be defined by specifying the magnitude of the rotation and the rotation axis. In three dimensions the rotation axis is defined by specifying two points, and , on the axis of rotation. In two dimensions the rotation axis is assumed to be normal to the plane of the model and is defined by specifying one point, . The coordinates of the points defining the axis of rotation must be defined in the configuration at the beginning of the step for which rigid body rotation is being defined. Motion due to rigid body rotation during a step is specified as the amount of rotation that takes place during that step only. Therefore, the rigid body rotation specified during a step is local to that step; if no rigid body rotation is specified in the following step, no further rotation occurs. The treatment of rigid body rotations is different from that of translations: rigid body rotations are specified incrementally from step to step while translations are specified as total values. Input File Usage Use either of the following options to prescribe rotational motion: MOTION, ROTATION, TYPE=DISPLACEMENT MOTION, ROTATION, TYPE=VELOCITY Abaqus/CAE Usage Surface motion is not supported with cavity radiation in Abaqus/CAE. Prescribing large rotational motionsPrescribed rotational motions of more than radians or complex sequences of rotations about different directions in three-dimensional models are most simply defined by specifying rotational velocities, which allows the definition to be given in terms of the angular velocity instead of the total rotation. Abaqus/Standard calculates the increment of rotation as the average of the angular velocities at the beginning and end of each increment multiplied by the time increment. (See Conventions.) ExampleFor example, if a rotation of about the z-axis is required, with no rotation about the x- and y-axes, and assuming a step time of 1.0, specify a constant angular velocity of as follows: MOTION, TYPE=VELOCITY, ROTATION node (node set), 18.84955592, 0., 0., 0., 0., 0., 1. The angular velocity will be constant since the default variation for motions prescribed using a predefined velocity field in a heat transfer or coupled thermal-electrical step (both steady-state and transient) is a step function (see Defining an analysis). An amplitude reference could be used to specify other variations of the angular velocity. If, in the next step, the same node (or node set) should have an additional rotation of radians about the global x-axis, assuming again a step time of 1.0, prescribe a constant angular velocity as follows: MOTION, TYPE=VELOCITY, ROTATION node (node set), 1.570796327, 0., 0., 0., 1., 0., 0. Prescribing simultaneous rigid body rotationsMotions involving two or more simultaneous rigid body rotations about different axes cannot be specified directly. An example of simultaneous rigid body rotations is a satellite rotating about its own axis while orbiting the earth. Such complex motions can be defined with user subroutine UMOTION. This subroutine allows specification of the time variation of the magnitude of the translational components of the motion (degrees of freedom 1–3) at each node. If you specify the magnitude of the translation as part of the prescribed motion definition, it will be modified by the amplitude curve (if any) and passed into subroutine UMOTION, where it can be redefined. When user subroutine UMOTION is used to define the motion of a certain node set in a step, only one prescribed motion can be defined in that step for that node set. The complete motion of all nodes in the node set during the step must be defined in the user subroutine. Input File Usage MOTION, USER Abaqus/CAE Usage Surface motion is not supported with cavity radiation in Abaqus/CAE. Simultaneous translational and rotational motionWhenever simultaneous translational and rotational motion is specified, the total motion of a node during step k is defined as where is the current location of the node due to the specified motion history, is the original location of the node, is the displacement of the node due to the translational motion specified in the step, and is the displacement of the node due to rigid body rotation during step i. In these cases the translation is applied first and the rotation is then assumed to be about the translated (material) axis. In other words, the displacement due to rigid body rotation during step i is computed as the rotation about an axis defined by points and where In the preceding equations and are the locations of the points used to define the axis of rotation for the prescribed rotational motion (they refer to the configuration at the beginning of step i) and is the displacement due to translational motion during the step (, where is the time at the end of step ). ExampleAs an example, consider a three-dimensional problem with x–y planar motion as shown in Figure 13. Figure 13. Planar motion example.
![]() The centroid of the object of interest is initially located at . In the first step the object is translated 4 length units in the x-direction while at the same time it rotates clockwise 180° ( radians) about the z-axis at constant angular velocity. This motion moves the object from position A to position C in Figure 13. Halfway through this motion, at position B, the displacements due to the rigid body rotation are calculated by applying the translation to the z-axis (the axis of rotation) and then applying a 90° rotation about this translated axis. In the second step the object is translated −3 length units in the y-direction only. This motion places the object at position D with no additional rotation. Finally, in the third step the object is simultaneously translated 5 length units at an angle of 53.13° to the y-direction and rotated clockwise, again at constant angular velocity, through 180° about the z-axis. This motion returns the object to its original position. Assuming that each step time is 1.0, the input required for the above motion sequence is as follows: First step: MOTION node set, 1, 1, 4. MOTION, ROTATION, TYPE=VELOCITY node set, 3.14159265, 0., 3., 0., 0., 3., -1. Second step: MOTION node set, 2, 2, -3. Third step: MOTION node set, 1, 2, 0. MOTION, ROTATION, TYPE=VELOCITY node set, 3.14159265, 4., 0., 0., 4., 0., -1. Controlling the time variation of the motionFor any prescribed motion you can refer to an amplitude curve that gives the time variation of the motion throughout a step (see Amplitude Curves). Input File Usage Use both of the following options: AMPLITUDE, NAME=amplitude MOTION, AMPLITUDE=amplitude Abaqus/CAE Usage Surface motion is not supported with cavity radiation in Abaqus/CAE. Controlling the frequency of view factor recalculation due to motionYou can control how view factors are recalculated during a step as a result of prescribed motion by specifying a value for the maximum allowable motion, max, for a particular node set. View factor recalculation is triggered if a displacement component at any node in the specified node set exceeds the specified value for max. You must respecify the value of max and the node set in every step where recalculation is required; the values do not remain in effect for subsequent steps. View factor recalculation can be expensive; use discretion when choosing a value for max. Input File Usage RADIATION VIEW FACTOR, MDISP=max, NSET=nset The max and nset values must always be specified together. Abaqus/CAE Usage View factor recalculation due to motion is not supported with cavity radiation in Abaqus/CAE. Controlling view factor calculation during the analysisThe cavity radiation capability can be used in applications such as the simulation of manufacturing sequences where radiation view factors change during the simulation. Therefore, radiation view factor definitions provide significant flexibility for the control of view factor calculations during a step. Multiple radiation view factor definitions can be specified within a step definition if different types of radiation and view factor calculations are required for different cavities. Different types of view factor calculations can be specified for the same cavity in different steps of the analysis. By default, view factors are calculated at the beginning of the first step that includes a radiation view factor definition. View factors are recalculated at the beginning of a subsequent step only if the view factor definition changes in that step; for example, if different surface blocking checks are specified for the same cavity. In a restart analysis Abaqus/Standard reads the radiation view factors from the user-specified restart step and increment and recalculates the view factors only if the view factor definitions have changed. You can specify the name of the cavity for which radiation view factor control is being specified. If you do not specify a cavity name, the radiation view factor definition applies to all cavities in the model. Input File Usage RADIATION VIEW FACTOR, CAVITY=cavity_name Abaqus/CAE Usage Radiation view factors are defined separately for each cavity radiation interaction and apply to all steps in which that interaction is active. Activating and deactivating cavity radiationThere are practical situations in which it may be useful to switch cavity radiation effects on and off during the analysis. For example, radiation may be taking place in a cavity that is then filled with a fluid so that radiation is no longer significant; later in the analysis, radiation may resume when the fluid is drained from the cavity. In such cases you can use a radiation view factor definition to switch the radiation on and off in any particular cavity during one or more steps of the analysis. When cavity radiation is switched back on after having been switched off, Abaqus/Standard will use the last view factors calculated in the last step in which cavity radiation was active. However, if motion is prescribed during the time that the cavity radiation is switched off and one of the displacement components of a node in the specified node set exceeds the value for the maximum allowable motion, max, specified in the step during which cavity radiation is switched off, the view factors will be recalculated at the beginning of the step in which the cavity radiation is switched back on. Input File Usage Use the following option to turn view factor calculation off for a step: RADIATION VIEW FACTOR, OFF Use one of the following options to turn view factor calculation back on in a subsequent step: RADIATION VIEW FACTOR RADIATION VIEW FACTOR, MDISP=max, NSET=nset Abaqus/CAE Usage Radiation view factors cannot be turned off or on for a selected step. You can use the following options to turn a cavity radiation interaction off or on: Interaction module: Interaction Manager: select a step and a cavity radiation interaction, Activate or Deactivate Controlling the accuracy of view factor calculationsAbaqus/Standard uses a progressive integration scheme for view factor calculation. When facets are sufficiently far from each other, a lumped area approximation is used. If the facets are close to each other but one of the facets is much larger than the other, an infinitesimal-to-finite approximation is used. For all other cases a contour integral is numerically calculated to compute the view factor. See View factor calculation for details. Two nondimensional parameters are calculated for each facet pair to determine which integration scheme is used: where is the area of the smaller facet, is the area of the larger facet, and d is the distance between their centroids. The lumped area approximation is used whenever the nondimensional distance square parameter , where has a default value of 5.0. If , an infinitesimal-to-finite area approximation is used if the facet area ratio , where has a default value of 64.0. Otherwise, a more precise calculation is performed, involving the numerical integration of a contour integral. You can customize the accuracy and speed of the view factor calculation by specifying the parameters and and the number of integration points per edge. For example, Abaqus/Standard will used lumped area approximations throughout the whole model if is set to zero. Likewise, the more precise, albeit more expensive, numerical integration method will always be used if and are set to very large numbers. Input File Usage RADIATION VIEW FACTOR, LUMPED AREA=P1, INFINITESIMAL=P2, INTEGRATION=integration points per edge Abaqus/CAE Usage Interaction module: Create Interaction: Cavity radiation: View factors: enter new values or accept the defaults for Infinitesimal facet area ratio, Gauss integration points per edge, and Lumped area distance-square value View factor calculation checks for closed cavitiesYou can provide a tolerance on the accuracy of the view factor calculation. In a closed cavity the sum of the view factors for each cavity facet should be one. Abaqus/Standard compares the value of the specified tolerance to the largest view factor matrix row sum deviation from unity; that is, . If the tolerance is violated for a closed cavity, the analysis is terminated. The default view factor tolerance is 0.05. Failure to meet this criterion may indicate a need for mesh refinement. Input File Usage RADIATION VIEW FACTOR, VTOL=tolerance Abaqus/CAE Usage Interaction module: Create interaction: Cavity radiation: View factors: Accuracy tolerance: tolerance View factor calculations in cavities with symmetriesThe view factor calculations account for the closure of a cavity implied by any cavity symmetries. For cavities without periodic or cyclic symmetries the view factors are calculated exactly for two-dimensional geometries, but approximations are made for axisymmetric and three-dimensional geometries. These approximations become less accurate as the distance between surfaces decreases. Define heat radiation to model closely spaced surfaces (see Thermal contact properties). View factor calculations in open cavitiesIf the sum of the view factors for facets in an open cavity (defined by specifying a value for the ambient temperature) deviates from unity by more than the specified view factor tolerance, radiation to the ambience will take place. In nearly closed cavities this deviation may be small. If the tolerance is not violated, radiation to the external medium is not included even though the cavity is defined to be open; a warning message is issued to this effect. You can reduce the view factor tolerance to include such radiation. Controlling checks for surface blockingHeat is transferred between surfaces that have unobstructed direct views of each other (see Figure 14); “blocking” may occur in geometrically complex cavities. Figure 14. Illustrations of blocking.
![]() Surface blocking checks may be computationally expensive in cavities with many surfaces; therefore, significant computational time may be saved by specifying which surfaces are potential blocking surfaces, as described below. View factor calculations with blocking surfaces are especially sensitive to mesh refinement. If a mesh is too coarse, the view factors may not add up to one (in a closed cavity). To obtain accurate results, the mesh should be refined until the view factors can be summed accurately. Full blocking checksBy default, Abaqus/Standard will check for blocking of every surface with itself and all other surfaces. Input File Usage RADIATION VIEW FACTOR, BLOCKING=ALL Abaqus/CAE Usage Interaction module: Create interaction: Cavity radiation: Properties: Blocking surface checks: All Partial blocking checksYou can specify a list of the potential blocking surfaces in the cavity. Input File Usage RADIATION VIEW FACTOR, BLOCKING=PARTIAL Abaqus/CAE Usage Interaction module: Create interaction: Cavity radiation: Properties: Blocking surface checks: Partial No blocking checksYou can indicate that there are no blocking surfaces in the cavity; in this case Abaqus omits all checks for blocking. Input File Usage RADIATION VIEW FACTOR, BLOCKING=NO Abaqus/CAE Usage Interaction module: Create interaction: Cavity radiation: Properties: Blocking surface checks: None Reducing computations for surfaces that are far apartIn cases where there are many surfaces in the cavity, surfaces separated by more than a certain distance may not be able to “see” each other for the purposes of radiation because of blocking by other surfaces. You can specify the distance beyond which view factors need not be calculated, which reduces the computational effort required for the view factor calculations. Input File Usage RADIATION VIEW FACTOR, RANGE=distance Abaqus/CAE Usage Interaction module: Create interaction: Cavity radiation: View factors: toggle on Specify blocking range: distance Memory usage in cavity radiation analysesThe cavity radiation heat transfer between facets of a surface in Abaqus is modeled using a full, unsymmetric matrix defining interactions between each node and all others in the cavity. For surfaces with large numbers of nodes this matrix may be large, resulting in memory requirements that are significantly larger than those for the finite element portion of the analysis without the cavity radiation interaction. To minimize memory requirements and computational cost for cavity radiation heat transfer analysis, the cavity can be defined using a coarser mesh of heat transfer shell elements having a single degree of freedom per node. The overlaid element should have minimal heat capacity and conduction, and it should be used for the definition of the cavity in place of the physical, multiple-degree-of-freedom shell. The overlaid element should be used to define the master surface in a tied coupling constraint (Mesh tie constraints); the multiple-degree-of-freedom, physical, heat transfer shell element forms the slave surface. Initial conditionsBy default, the initial temperature of all nodes is zero. You can specify nonzero initial temperatures in a cavity radiation analysis; see Defining initial temperatures. In a heat transfer analysis involving forced convection through the mesh, you can define nonzero initial mass flow rates at the nodes of the forced convection/diffusion heat transfer elements in the model (see Uncoupled heat transfer analysis). Boundary conditionsYou can specify boundary conditions to prescribe temperatures (degree of freedom 11) at the nodes (see Boundary conditions in Abaqus/Standard and Abaqus/Explicit). Shell elements have additional temperature degrees of freedom 12, 13, etc. through the thickness (see Conventions). Boundary conditions can be specified as functions of time by referring to amplitude curves (Amplitude Curves). For purely diffusive elements, a boundary without any prescribed boundary conditions (natural boundary condition) corresponds to an insulated surface. For forced convection/diffusion elements, only the flux associated with conduction is zero; energy is free to convect across an unloaded surface. This natural boundary condition correctly models areas where fluid is crossing a surface (as, for example, at the upstream and downstream boundaries of the mesh) and prevents spurious reflections of energy back into the mesh. LoadsThe following types of loading can be prescribed in addition to the cavity radiation, as described in Thermal loads:
Predefined fieldsYou cannot specify temperatures as field variables in heat transfer or coupled thermal-electrical analyses. Boundary conditions should be used instead, as described above. You can specify values of other user-defined field variables during the analysis. These values will affect field-variable-dependent material properties, if any. See Predefined Fields. Material optionsYou must define the radiation properties of the surfaces as described above in Defining surface radiation properties. Other thermal properties such as conductivity, density, specific heat, and latent heat are defined as in uncoupled heat transfer analysis—see Uncoupled heat transfer analysis and About thermal properties. You can specify internal heat generation—see Internal heat generation. Thermal expansion coefficients are not meaningful in cavity radiation heat transfer analysis since deformation of the structure is not considered. ElementsAny of the heat transfer or coupled thermal-electrical elements in Abaqus/Standard can be used in a cavity radiation analysis, including forced convection/diffusion heat transfer elements (see Choosing the appropriate element for an analysis type, Uncoupled heat transfer analysis, and Coupled thermal-electrical analysis). Coupled temperature-displacement and coupled thermal-electrical-structural elements cannot be used in a cavity radiation analysis. In addition to the elements that you define, Abaqus/Standard uses internal elements that are generated automatically from your definition of radiation cavities. OutputThe following output variables are available for cavity radiation: Surface variables
All of the output variables are listed in Abaqus/Standard output variable identifiers. Abaqus/CAE supports motion display and can display surface- and element-based results. Writing the view factor matrices to the results fileYou can write the view factor matrices for cavity radiation interactions in heat transfer or coupled thermal-electrical analyses to the results (.fil) file if parallel decomposition for the cavity is not enabled.. The entire radiation view factor matrix is written for each cavity radiation element in the specified cavity. You can control the frequency of view factor matrix output by specifying the required output frequency in increments. The default output frequency is 1. Specify an output frequency of 0 to suppress output. The output will always be written at the last increment of each step unless you specify an output frequency of 0. The record formats for the results file are described in Results file output format. The file can be written in binary or ASCII format (see Controlling the format of the results file in Abaqus/Standard). Input File Usage VIEW FACTOR OUTPUT, CAVITY=cavity_name, FREQUENCY=n Abaqus/CAE Usage View factor output is not supported in Abaqus/CAE. Requesting surface variable outputFor the cavity radiation interaction, you can request cavity-, element-, or surface-based radiation output such as radiation fluxes, view factor totals for a facet, and facet temperatures to the data, results, and/or output database files. The output requests can be repeated as often as necessary to request output for different variables, different cavities, different surfaces, different element sets, etc. The surface variables that can be requested are listed above. You can specify the particular cavity, element set, or surface for which output is being requested. If you do not specify a cavity, element set, or surface, output will be provided for all cavities in the model. The same cavity, element set, or surface can appear in several radiation output requests. By default, no cavity radiation data output will be provided. If you define a radiation output request without specifying the desired output variables, all six cavity radiation surface variables will be output. You can control the frequency of radiation output by specifying the required output frequency in increments. The default output frequency is 1. Specify an output frequency of 0 to suppress output. The output will always be written at the last increment of each step unless you specify an output frequency of 0. Input File Usage Use one of the following options to obtain output in the data file: RADIATION PRINT, CAVITY=cavity_name, FREQUENCY=n RADIATION PRINT, ELSET=element_set, FREQUENCY=n RADIATION PRINT, SURFACE=surface_name, FREQUENCY=n Use one of the following options to obtain output in the results file: RADIATION FILE, CAVITY=cavity_name, FREQUENCY=n RADIATION FILE, ELSET=element_set, FREQUENCY=n RADIATION FILE, SURFACE=surface_name, FREQUENCY=n Use the first option and one of the subsequent options to obtain output in the output database: OUTPUT, FREQUENCY=n RADIATION OUTPUT, CAVITY=cavity_name RADIATION OUTPUT, ELSET=element_set RADIATION OUTPUT, SURFACE=surface_name Abaqus/CAE Usage Cavity radiation output to the data file and the results file are not supported in Abaqus/CAE. Use the following options to obtain output in the output database: Step module: history output request editor: Thermal: select the output variables Printed outputThe output tables generated by a radiation output request to the data file are organized on a surface-by-surface basis. The rows that will appear in a particular table are defined by choosing a cavity, surface, or element set: each row of a table corresponds to an individual element face that is part of the cavity, surface, or element set chosen. If all of the variables in a row of a table are zero, the row is not printed. The first column of each table is the element number, and the second column is the element face identifier. You choose the variables to appear in the remaining columns. There is no limit to the number of tables that can be defined. As an example, consider a heat transfer model containing a cavity named CAV1, which, in turn, is composed of surfaces SURF1 and SURF2. If you request output of radiation flux (RADFL) and facet temperature (FTEMP) to the data file for this model, two tables will appear in the data file. One table will contain RADFL and FTEMP output for all element faces composing surface SURF1, and the other table will contain the same output variables for all element faces making up surface SURF2. By default, Abaqus/Standard writes a summary of the maximum and minimum values in each column of the table. You can choose to suppress this summary. In addition, you can choose to print the total of each column in the table, which is useful, for example, to sum radiation fluxes over all facets composing a radiation surface. By default, these totals are not printed. Input File Usage Use the following option to control output of the summary information to the data file: RADIATION PRINT, SUMMARY=YES or NO Use the following option to control output of the totals to the data file: RADIATION PRINT, TOTALS=YES or NO Abaqus/CAE Usage Cavity radiation output to the data file is not supported in Abaqus/CAE. Input file templateThe following template shows the options required for a transient, cavity radiation analysis of a closed two-dimensional symmetric cavity. All surfaces within the cavity topcav have the same emissivity. The surface surf2 moves (translation only) during the analysis. In the second step surface surf2 stops moving, cavity radiation is turned off, all thermal loads except the surface convection are removed, and a steady-state heat transfer analysis is conducted to determine the final temperature of the system. HEADING … PHYSICAL CONSTANTS, ABSOLUTE ZERO=, STEFAN BOLTZMANN= SURFACE, NAME=surf1, PROPERTY=surfp elset1, S1 elset2, S2 SURFACE, NAME=surf2, PROPERTY=surfp elset3, SURFACE PROPERTY, NAME=surfp EMISSIVITY Data lines to define the emissivity of the surfaces in the model CAVITY DEFINITION, NAME=topcav surf1, surf2 INITIAL CONDITIONS, TYPE=TEMPERATURE Data lines to prescribe initial temperatures at the nodes AMPLITUDE, NAME=motion Data lines to define amplitude curve to be used for motion of surface surf2 AMPLITUDE, NAME=film Data lines to define amplitude curve to be used for the convection film coefficient, h ************* ** Step 1 ************* STEP HEAT TRANSFER, MXDEM=, DELTMX= Data line to define incrementation RADIATION VIEW FACTOR, CAVITY=topcav, VTOL=tol, SYMMETRY=outer, NSET=nset, MDISP=max RADIATION SYMMETRY, NAME=outer REFLECTION, TYPE=LINE Data line to define line of symmetry MOTION, TRANSLATION, TYPE=DISPLACEMENT, AMPLITUDE=motion Data line to define motion of nodes on surface surf2 CFLUX and/or DFLUX Data lines to define concentrated and/or distributed fluxes BOUNDARY Data lines to prescribe temperatures at selected nodes FILM, FILM AMPLITUDE=film Data lines to define surface convection ** RADIATION PRINT, CAVITY=topcav, SUMMARY=YES, TOTALS=YES Data lines requesting cavity radiation surface variable output RADIATION FILE, CAVITY=topcav, FREQUENCY=4 Data lines requesting cavity radiation surface variable output NODE PRINT Data lines requesting nodal output such as temperatures EL PRINT Data lines requesting element output such as heat flux END STEP ************* ** Step 2 ************* STEP HEAT TRANSFER, STEADY STATE Data line to define incrementation RADIATION VIEW FACTOR, OFF CFLUX, OP=NEW DFLUX, OP=NEW END STEP |