ProductsAbaqus/Standard
TypeModel data
LevelThis option is not supported in a model defined in terms of an assembly of part instances.
Required parameters
- ELSET
-
Set this parameter equal to the name of the element set containing the substructures for which properties are being defined.

Optional parameters
- POSITION TOL
-
Set this parameter equal to the tolerance on the distance between usage level nodes and the corresponding substructure nodes. If this parameter is omitted, the default is a tolerance of 10−4 times the largest overall dimension within the substructure. If the parameter is given with a value of 0.0, the position of the retained nodes is not checked.

Data line to translate a substructure
- First (and only) line
Value of the translation to be applied in the global X-direction.
Value of the translation to be applied in the global Y-direction.
Value of the translation to be applied in the global Z-direction.

Data lines to translate and/or rotate a substructure
- First line
Value of the translation to be applied in the global X-direction.
Value of the translation to be applied in the global Y-direction.
Value of the translation to be applied in the global Z-direction.
Enter values of zero to apply a pure rotation.
- Second line
Global X-coordinate of point a on the axis of rotation (see Figure 1).
Global Y-coordinate of point a on the axis of rotation.
Global Z-coordinate of point a on the axis of rotation.
Global X-coordinate of point b on the axis of rotation.
Global Y-coordinate of point b on the axis of rotation.
Global Z-coordinate of point b on the axis of rotation.
Angle of rotation about the axis a–b, in degrees.

Data lines to translate and/or reflect a substructure
- First line
Value of the translation to be applied in the global X-direction.
Value of the translation to be applied in the global Y-direction.
Value of the translation to be applied in the global Z-direction.
Enter values of zero to apply a pure reflection.
- Second line
Enter a blank line.
- Third line
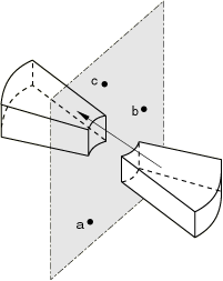
Global X-coordinate of point a in the plane of reflection (see Figure 2).
Global Y-coordinate of point a in the plane of reflection.
Global Z-coordinate of point a in the plane of reflection.
Global X-coordinate of point b in the plane of reflection.
Global Y-coordinate of point b in the plane of reflection.
Global Z-coordinate of point b in the plane of reflection.
- Fourth line
Global X-coordinate of point c in the plane of reflection.
Global Y-coordinate of point c in the plane of reflection.
Global Z-coordinate of point c in the plane of reflection.

Data lines to translate, rotate, and reflect a substructure
- First line
Value of the translation to be applied in the global X-direction.
Value of the translation to be applied in the global Y-direction.
Value of the translation to be applied in the global Z-direction.
- Second line
Global X-coordinate of point a on the axis of rotation (see Figure 1).
Global Y-coordinate of point a on the axis of rotation.
Global Z-coordinate of point a on the axis of rotation.
Global X-coordinate of point b on the axis of rotation.
Global Y-coordinate of point b on the axis of rotation.
Global Z-coordinate of point b on the axis of rotation.
Angle of rotation about the axis a–b, in degrees.
- Third line
Global X-coordinate of point a in the plane of reflection (see Figure 2).
Global Y-coordinate of point a in the plane of reflection.
Global Z-coordinate of point a in the plane of reflection.
Global X-coordinate of point b in the plane of reflection.
Global Y-coordinate of point b in the plane of reflection.
Global Z-coordinate of point b in the plane of reflection.
- Fourth line
Global X-coordinate of point c in the plane of reflection.
Global Y-coordinate of point c in the plane of reflection.
Global Z-coordinate of point c in the plane of reflection.